一、特点:
1.卧式穿芯,安装方式灵活,PCB板焊接安装
2.全封闭,机械和耐环境性能好,电压隔离能力强,外形美观;
二、使用环境条件:
1.环境温度:-40℃~+85℃;
2.相对湿度:温度为40℃时不大于90%;
3.大气压力:860~1060mbar(约为650~800mmHg)。
三、工作频率范围:20Hz~20kHz。
四、绝缘耐热等级:b级(130℃)。
五、安全特性
1.绝缘电阻:常态时大于1000MΩ;
2.抗电强度:可承受工频6000V/50Hz/1分钟;
3.阻燃性:符合UL94-Vo级。
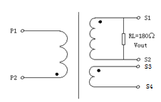
六、外形图、安装尺寸及线圈图图一

注:S1-S2为测试绕组,S3-S4为自检绕组。
七、典型应用及性能参数:
按图二所示应用时性能参数见下表:

图二

八、注意事项:
1.电流互感器初级应串联于被测电流回路中,次级应近似工作于短路状态。
2.电流互感器次级电路不允许开路,所以请不要装熔断器。