一、特点:
1.全封闭、耐环境性能好、绝缘隔离能力强,防潮抗震,外形美观;
2.电流互感器二次引线颜色不同便于区分同名端;
3.采用组合式互感器比采用同数量单体互感器更节省表内空间。
二、使用环境条件:
1.环境温度:-55℃~+85℃;
2.相对湿度:温度为40℃时不大于90%;
3.大气压力:860~1060mbar(约为650~800mmHg)。
三、工作频率范围:20Hz~20kHz。
四、绝缘耐热等级:B级(130℃)。
五、安全特性:
1.绝缘电阻:常态时大于1000MΩ;
2.抗电强度:可承受工频6kV/1分钟;
3.阻燃性:符合UL94-V0级。
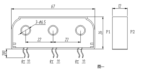
六、外形图、安装尺寸及线圈图:
1.外形图、安尺寸见图一:

● 说明:输入、输出引线的长短可以根据客户的要求特殊定做。
2.线圈图见图二:

七、性能参数:
按图三所示应用时性能参数见下表:

产品型号 | 额定 输入电流 | 额定 输出电流 | 额定 采样电阻 | 额定 采样电压 | 相移 | 非线性度 | 线性范围 |
STA1218-01M | 10A | 10mA | 150Ω | 1.5V | ≤25’ | ≤0.2% | ≥2倍额定 |
STA1218-02M | 20A | 10mA | 300Ω | 3.0V | ≤20’ | ≤0.2% | ≥2倍额定 |
STA1218-03M | 30A | 10mA | 450Ω | 4.5V | ≤15’ | ≤0.2% | ≥2倍额定 |
● 说明:
a.实际应用中,采样电阻应小于或等于上表给出的额定值,这样会改善非线性度和相移;
b.若用户需要的变流比与上述不同,可按用户要求订制。
八、注意事项:
1.电流互感器初级应串联于被测电路中,次级应近似工作于短路状态;
2.电流互感器次级电路不允许开路,所以请不要在次级回路安装熔断器。