一、特点:
1.立式穿芯,安装方式灵活,既可固定于母线上,又可固定在底板上;
2.母线穿孔为圆形,呈“品”字形排列;
3.输出端子为标准插座,并配套供应插头,使用方便;
4.盒式结构,塑壳封闭,外形美观。
二、使用环境条件:
1.环境温度:-55℃~+55℃;
2.相对湿度:温度为40℃时不大于90%;
3.大气压力:860~1060mbar(约为650~800mmHg)。
三、工作频率范围:20Hz~1kHz。
四、绝缘耐热等级:80℃。
五、安全特性:
1.绝缘电阻:常态时大于1000MΩ;
2.抗电强度:可承受工频6kV/1分钟;
3.阻燃性:符合UL94-V0级。
六、外形图、安装尺寸和线圈图:
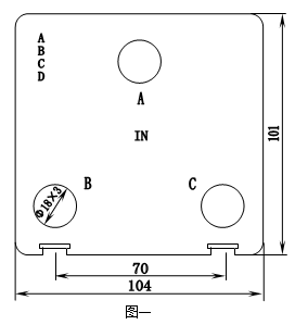
1.外形图见下图一

2.安装尺寸图见图二

● 说明:每只产品配套供给一个插头,下见安装说明。
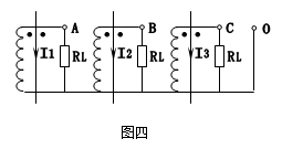
3.线圈图见图三

4.安装说明
取4只支脚(随产品配套供应)。按右图所示插入底板支脚插孔。插到底时,安装孔中心距为50.0×71.0;支脚孔径为Φ5.0;可用M4螺钉将互感器固定在底板上。
七、性能参数:
按图四所示应用时性能参数见下表:

产品型号 | 额定 输入电流 | 额定 输出电流 | 额定 采样电阻 | 额定 采样电压 | 相移 | 非线性度 | 线性范围 |
STA3340-01 | 3Φ-10A | 3Φ-1mA | 3Φ-200Ω/Y0 | 3Φ-200mV/相 | ≤60’ | ≤1% | 12.5倍额定 |
STA3340-02 | 3Φ-25A | 3Φ-1mA | |||||
STA3340-03 | 3Φ-50A | 3Φ-1mA | |||||
STA3340-04 | 3Φ-100A | 3Φ-1mA |